公司简介 公司新闻 综合资讯 产品展示 产品目录 客户反馈 联系我们 电子邮局
  主要产品为静态混合器、动态混合设备、传热反应设备、过滤设备、消声设备、阻火设备等
静态混合器
静态混合反应器
管道混合器
SQS型汽水混合器
QD/HT型蒸汽减温器
管道混合反应器
JHF型高粘换热混合器
浸没式汽水加热器
塔式反应器
管式反应器
环管反应器
高效换热器
萃取塔
管道过滤器
自清洗过滤器
空气过滤器
灭菌过滤器
滤件系列
精细过滤器
粉体输送设备
粉体混合设备
液体搅拌设备
消声器
特种小型设备
排水器
纸浆漂白专用设备
除污器(滤水器)
喷射器
纤维除雾器
自动进料搅拌釜

 
喷射器
PSQ-型蒸汽喷射真空泵
PSG-气固喷射器
PSB电线电缆燃烧仪检测喷射器
PSC活性炭喷射器
PSS水泵房喷射节能器
PSY生物柴油喷射器
PST脱硫喷射器
PSD-地坑喷射器
PSJ喷射加热器
罐用喷射器
PSK开工抽引器
PSZ罐底焊缝真空检漏盒抽空器
液固喷射器
抽空器


PSZ型 罐底焊缝真空检漏盒抽空器

一般油罐底板焊缝试漏方法
   油罐底板在建成和维修以后必须进行检漏。常用的方法有:真空箱试漏法、漏磁扫描探伤、气体检漏和充水试压等方法。


罐底焊缝真空检漏盒抽空器适用于真空试漏法
   真空检漏盒采用薄板做成无底的长方形盒子,盒顶部严密地镶嵌一块厚玻璃,盒底四周边沿包有不透气的海绵橡胶,使盒子严密地扣在底板上。盒内用反光的白漆涂刷。盒子上装抽气短管和进气阀。试验焊缝时,先在焊缝上涂肥皂水,再将真空盒扣上,用真空泵将盒内抽成55kPa的真空度,最好在-70KPa以上;观察盒内有无气泡出现,如有气泡,应作出标志加以焊补。

  罐底焊缝真空检漏盒抽空器常被用来检查油罐焊缝,特别是圆周焊接部分,不常用于整个罐底。

  罐底焊缝真空检漏盒抽空器安装在真空箱外部,通过0.5MPa的压缩空气产生一定的负压值,一般在-70KPa以上,实现焊缝的真空检漏试验

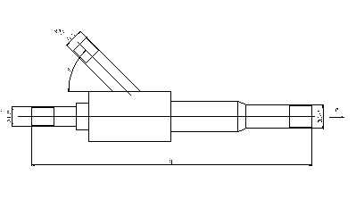
二、抽空器结构:
   罐底焊缝真空检漏盒抽空器是一个三通结构,吸气口垂直或采用一定角度都可,一般材质为碳钢,接口规格为4分外丝联接;出口联通大气;负压值在-70KPa以上,特别适用于真空盒试验装置;

三、设备尺寸:

南通沃尔驰石化工程有限公司 地址:启东市汇龙镇中央河中路691号 邮编:226200 http://www.qdkzw.com E-mail:13862978163@126.com
电话:0513-83325673 传真:0513-83119878 手机: 13862978163